
Our favorite go-fast UTVs have had adjustable shocks for quite some time. Whether you pray at the altar of the Polaris RZR or the Can-Am Maverick, each of them has a shock option where you can select between soft, medium, and firm settings as to provide the driver with the most amount of comfort and/or raciness for a given locale.
But those settings are either buried in menus, require you to close the throttle for them to adjust, or are on the dash of the UTV and therefore somewhat out of reach if you're on a tear through the Glamis dunes. It's a bit of a pain, if we're being honest.
Polaris, however, has looked to that of modern supercars and their on-the-fly suspension changing abilities and said, "We'll have a bit of that!" What did the company do? Well, how does push-to-change suspension changes sound via the UTV's steering wheel? Sounds rad as hell to me.
According to the patent discovered by RideApart, Polaris is patenting an "adjustable vehicle suspension system," which sounds pretty normal if you've been around the space as long as we have. Again, most of the go-fast, and even some of the utility-focused, side-by-sides have electronic adjustable suspensions. But it's when you dive further into the patent itself, as well as look at its drawings, that you get to the interesting bits that could revolutionize the space.
Per the patent description, "The present disclosure relates to improved suspension for a vehicle and in particular to systems and methods of damping and/or rebound control for shock absorbers. Currently some off-road vehicles include adjustable shock absorbers. These adjustments include spring preload, high and low speed compression damping and/or rebound damping. In order to make these adjustments, the vehicle is stopped and the operator makes an adjustment at each shock absorber location on the vehicle. A tool is often required for the adjustment. Some on-road automobiles also include adjustable electric shocks along with sensors for active ride control systems. The system of the present disclosure allows an operator to make real time 'on-the-go' adjustments to the shocks to obtain the most comfortable ride for given terrain and payload scenarios."
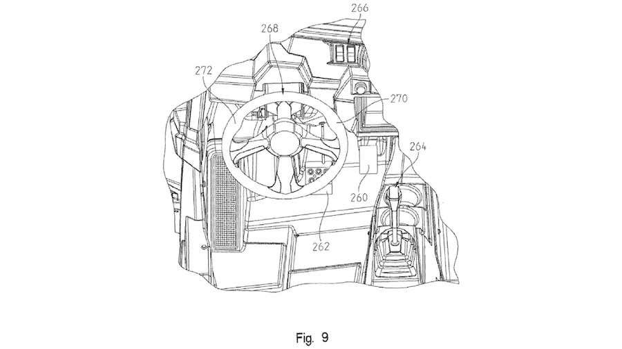
And if you look at the patent drawings included, the above description and those renders show a steering wheel with buttons that would allow the driver to make "on-the-go" suspension changes ala a new Ferrari or Lamborghini, but whipping an RZR in the sand, snow, mud, or across some gnarly desert terrain. And that's neat as all hell.
As for when we'd see such an invention on an RZR your or I could buy, well, that's anyone's guess as nothing has been stated by Polaris about any sort of upcoming new RZR technology. Though given we're already through most of the year, and companies love to send new tech or updates out at the end of the year to get everyone hyped for the following year's riding, we might see this sooner rather than later.
Stay tuned.



Related News